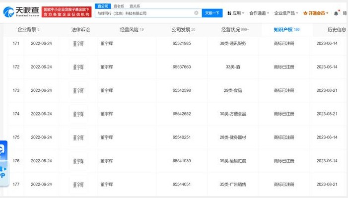
lixiaoyong 科技 商标 2024-04-27 14:26:55 董宇辉商标已转给与辉同行公司 天眼查知识产权信息显示,近日,东方甄选关联公司东方优选(北京)科技有限公司将其注册的多枚“董宇辉”图文商标,转让给与辉同行(北京)科技有限公司,商标国际分类包括广告销售、教育娱乐、办公用品、食品等。 与辉同行(北京)科技有限公司成立于2023年12月,注册资本1000万人民币,法定代表人、执行董事、经理为董宇辉,监事为俞敏洪,由北京新东方迅程网络科技有限公司全资持股。 本文转载自天眼查,转载目的在于传递更多信息,并不代表本站赞同其观点和对其真实性负责。